F 032 111 060ROZRUSZNIK VW (!)

MPN: F 032 111 060
Indeks: 111060 CG
Producent: HC-CARGO
Opis: rozrusznik


Zapytaj o produktZapytaj o produkt

Dostępność




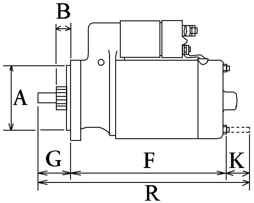
Parametry

Napięcie [V] 12
Moc znamionowa [kW] 1,7
Rodzaj rozrusznika z przekładnią redukcyjną
Długość [mm] 264,50
Średnica kołnierza [mm] 76,2
Liczba otworów do mocowania 3
Liczba otworów gwintowanych 0
Kierunek obrotów przeciwnie do ruchu wskazówek zegara
Liczba zębów 9
Średnica wewnętrzna 1 [mm] 12,30
Średnica wewnętrzna 3 [mm] 11,00
Średnica wewnętrzna 2 [mm] 11,00
Szczelina-ustawienie podstawowe [mm] 32,00

Kody EAN

Kody użytkowe

Samochody osobowe

VW: CADDY I (14) (1979-08 » 2008-11), CALIFORNIA T4 Camper (7DJ, 7DK, 70J) (1990-09 » 2004-08), GOLF II (19E, 1G1) (1983-08 » 1992-12), GOLF II Van (19E, 1G1) (1983-08 » 1991-07), JETTA II (19E, 1G2, 165) (1983-08 » 1992-12), PASSAT B2 (32B) (1979-09 » 1989-07), PASSAT B2 Variant (33B) (1980-08 » 1989-06), PASSAT B3/B4 (315, 3A5) (1988-08 » 1996-12), PASSAT B3/B4 (3A2, 35I) (1988-02 » 1997-12), PASSAT B3/B4 Variant (3A5, 35I) (1988-02 » 1997-06), TRANSPORTER T4 Autobus (70B, 70C, 7DB, 7DK, 70J, 70K, 7DC, 7 (1990-09 » 2004-10), TRANSPORTER T4 Furgon (70A, 70H, 7DA, 7DH, 70J) (1990-07 » 2003-04), TRANSPORTER T4 Platforma / podwozie (70E, 70L, 70M, 7DE, 7DL (1990-07 » 2003-04)
Projekt: NIKO ©2019 dataWeb ver. 1.0.90 || Wdrożenie: TOMJOHN   SEO &API tecdoc
Dodano do koszyka